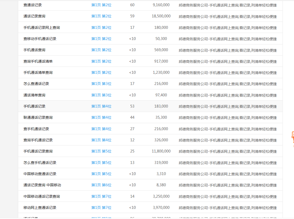
通话网上查询案例
标题:邦德商务服务公司-手机通话网上查询,看记录,列清单轻松便捷
关键词:联通通话记录查询,怎么查手机通话记录,移动通话记录查询,通话记录删除
描述:邦德商务调查有限公司是一家资质优秀的综合性通讯信息调查服务机构。为大家提供中国移动,联通手机通话记录删除与查询方法,免费分享最新的通话记录删除方法。以服务至上,客户第一的原则,尽心尽职为客户服务。


通话网上查询案例
通话网上查询案例
标题:邦德商务服务公司-手机通话网上查询,看记录,列清单轻松便捷
关键词:联通通话记录查询,怎么查手机通话记录,移动通话记录查询,通话记录删除
描述:邦德商务调查有限公司是一家资质优秀的综合性通讯信息调查服务机构。为大家提供中国移动,联通手机通话记录删除与查询方法,免费分享最新的通话记录删除方法。以服务至上,客户第一的原则,尽心尽职为客户服务。


通话网上查询案例
资深SEO专家 | 20年行业经验
AI将彻底重构SEO的底层逻辑,搜索不再是 "关键词匹配" 的算法,而是 "用户意图理解" 的竞争。以 Google MUM、百度文心一言为代表的大模型,正在让搜索引擎具备跨模态、跨领域的深度语义分析能力。这意味着,AISEO的核心将从 "优化页面" 转向 "构建能被AI识别的价值生态"。
AI模型专家 | 23年行业经验
AI不会取代SEOer,但 "不会用 AI的SEOer"会被取代。未来的 AI SEO 从业者,核心能力将从 "执行优化" 转向 "AI策略指挥"。用AI数据分析工具快速定位用户搜索痛点;判断哪些领域适合AI批量布局,哪些领域需要人工深耕建立壁垒,本质上是通过AI的策略能力,而非被AI工具牵着走。
AI运营专家 | 18年行业经验
AI应用的趋势是:"通用大模型+行业知识库+场景调优"成标配。工业实现全流程优化,医疗升级个性化方案,零售打通全链路经营。同时人机协同深化,AI解放重复劳动,人类聚焦策略创意,成为企业降本增效、创造增量价值的核心引擎。
资深SEO专家 | 20年行业经验
未来三年,AI 将彻底重构 SEO 的底层逻辑,搜索不再是 "关键词匹配" 的游戏,而是 "用户意图理解" 的竞争。以 Google MUM、百度文心一言为代表的大模型,正在让搜索引擎具备跨模态、跨领域的深度语义分析能力。这意味着,AI SEO 的核心将从 "优化页面" 转向 "构建能被 AI 识别的价值生态"—— 内容生产会更依赖 AI 辅助的 "用户需求预判",外链和权威度的评估标准也将融入 AI 对内容关联性的动态分析,传统 SEO 的 "技巧红利" 将逐渐消失,"价值红利" 成为唯一通行证。
网站优化:网站想要网站优化需要具备哪些特点呢?
优化关键词排名的实用方法
网站文章收录提升:提高网站文章收录的方法
网站优化:网站优化中如何提高用户的体验度呢?
有任何问题或需求,请填写以下表单,我们会尽快与您联系
云无限推广公司依托AI技术,为企业提供营销、运营及数据分析全场景支持,构建"AI+营销"与"AI+运营"双引擎服务模式。该模式不仅配备芯大脑舆情分析系统,更具备用户行为数据的深度挖掘与精准洞察能力,为企业决策提供数据支撑。
通过AI大模型与新媒体高效协同,可助力企业搭建"内容生产-流量捕获-商业转化"的全链路增长闭环,驱动业务持续提升。从算法策略优化到品牌声量管理,云无限推广公司始终以实战成效为导向,帮助企业在数字浪潮中把握发展机遇,强化竞争优势。
20+
行业经验
3000+
服务客户
5000+
成功案例
70+
专业团队
18810118859 / 邢经理
北京市朝阳区东四环中路39号,华业国际中心B座212室
用户1
2022/8/12 10:07:37关键词排名查询:关键词排名消失的原因有哪些